技术参数
技术规范 | |
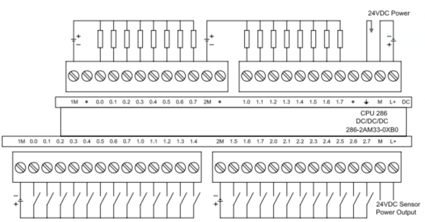
型号 | CPU 286 DC/DC/DC |
订货号 | DU 286-2AM33-0XB0 |
物理特性 | |
尺寸W x H x D(mm) | 196 x 80 x 62 |
功耗 | 12W |
存储器特性 | |
程序存储器 | 24K |
数据存储器 | 10K(可掉电保持10年) |
I/O特性 | |
本机数字量输入 | 24 输入 |
本机数字量输出 | 16 输出 |
数字I/O映象区 | 256 (128 输入/128输出) |
模拟I/O映象区 | 64 (32输入/32输出) |
允许最大的扩展I/O模块 | 7个模块 |
脉冲捕捉输入 | 24 |
高速计数器总数 | 6个 |
单相计数器 | 6个200KHz |
两相计数器 | 4个100KHz |
高速脉冲输出 | 4轴x 200KHz |
常规特性 | |
定时器总数 | 总共256个,4个1ms,16个10ms,236个100ms |
计数器总数 | 256 |
内部存储器位掉电保持 | 256 |
时间中断 | 2个1ms分辨率 |
边沿中断 | 4个上升沿/4个下降沿 |
模拟电位器 | 2个8位分辨率 |
实时时钟 | 内置 |
实时时钟保持时间 | 100小时/典型值 |
集成的通信功能 | |
接口 | 2个RS-485标准PPI通讯口 |
PPI波特率 | 9.6和19.2kbps |
自由口波特率 | 1.2k至115.2kbps |
每段最大电缆长度 | 使用隔离的中继器:38.4kbps可达1200米,未使用隔离中继器:50米 |
最大站点数 | 每段32个站,每个网络126个站 |
最大主站数 | 32 |
点到点(PPI主站模式) | 是 |
电源特性 | |
输入电压 | 20.4至28.8V DC |
输入电流 | 150mA(仅CPU,24V DC) |
冲击电流 | 12A,28.8V DC时 |
隔离(现场与逻辑) | 不隔离 |
24V DC传感器电源 | |
传感器电压 | L+ 减5V |
电流供应(最大) | 400mA |
电流限定 | 1.5A峰值 |
纹波噪声 | 来自输入电源 |
隔离(传感器与逻辑) | 非隔离 |
数字量输入特性 | |
本机集成数字量输入点数 | 24输入 |
输入类型 | PNP/NPN |
额定电压 | 24V DC,4mA/典型值 |
最大持续允许电压 | 30V DC |
浪涌电压 | 35V DC,持续0.5s |
逻辑1信号(最小) | 2.5mA时15V DC |
逻辑0信号(最大) | 1mA时5V DC |
输入延迟 | 可选(0.2至12.8ms) |
连接2线接近开关传感器 (Bero)允许漏电流(最大) | 1mA |
隔离(现场与逻辑) | 是 |
光电隔离 | 500V AC,1分钟 |
隔离组 | 见接线图 |
高速计数器输入速率 逻辑1 电平= 15~30V DC | 200KHz(单相),100KHz(两相) |
同时接通的输入 | 所有 |
电缆长度(最大) | 500米(标准输入) |
屏蔽 | 50米(高速计数器输入) |
非屏蔽 | 300米(标准输入) |
数字量输出特性 | |
本机集成数字量输出点数 | 16输出 |
输出类型 | 固态-MOSFET,漏型输出 |
额定电压 | 24V DC |
电压范围 | 5.0 至 28.8 VDC |
浪涌电流(最大) | 8A,100ms |
逻辑1(最大) | 0.5V |
逻辑0(最小) | VCC减0.5V |
每点额定电流(最大) | 0.5A |
每个公共端的额定电流(最大) | 4 A |
漏电流(最大) | 10μA |
灯负载(最大) | 3.5W |
接通电阻(接点) | 0.3Ω典型值(0.6Ω最大值) |
光电隔离(现场到隔离) | 500V AC,1分钟 |
隔离组 | 见接线图 |
断开到接通 | 1.2uS(Q0.0~Q0.7), 15uS(其它) |
接通到断开 | 1.2uS(Q0.0~Q0.7), 130uS(其它) |
脉冲频率(最大) | 4轴:200KHz(Q0.0~Q0.7),1KHz(其它) |
同时接通的输出 | 60℃时,所有的输出(水平安装) 40℃时, 所有的输出(垂直安装) |
两个输出并联 | 否 |
屏蔽 | 500米(普通输出) |
非屏蔽 | 150米(普通输出) |
UN200系列通用技术规范 | |
工作环境温度 | 0℃~60℃(水平安装),0℃~40℃(垂直安装) |
运输环境温度 | -20℃~80℃ |
环境相对湿度 | 5~95%,无凝结(RH等级2,符合IEC61131-2) |
防护等级 | IP20,符合IEC60529 |
隔离(24V DC电路) | 测试电压500VDC |
电磁兼容性 | 符合EMC规程要求 噪声抑制,符合IEC61000-6-2 测试符合IEC61000-4-2,IEC61000-4-3, IEC61000-4-4, IEC61000-4-5,IEC61000-4-6 |
机械等级(振动, 测试条件符合) | IEC60068,Part2-6/10up58Hz; 恒定振幅0.075mm; 58~150Hz;恒定加速度1g; 振动周期:在三个互相垂直轴的每个方向上, 每根轴为10个振动周期。 |















